FIDELIO
FIreball Detection by Long-term Imaging and Observation
DISCLAIMER: Diese Website befindet sich aktuell noch im Aufbau. Es ist mit nicht funktionierenden Links, fehlenden Seiten und Layoutfehlern zu rechnen.
Anleitungen
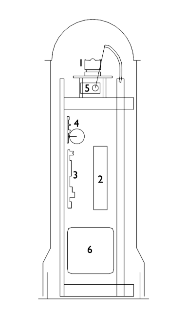
Die Fidelio-Meteorkamera soll günstig nachzubauen sein. Unser Ziel ist es, ein ganzes Netzwerk an Kameras aufzubauen, für alle die dabei helfen wollen wird es hier Anleitungen für den Bau der Kamera und auch die nötige Software zum Download geben.
Benötigte Bauteile
Raspberry Pi
Stromversorgung
Kameramodul
... (Die Anleitung ist noch nicht fertig)
Anzahl Kameras bisher
3